LA4192 bridge amplifier 5W circuit diagram – Luala Guide

LA4192 bridge amplifier 5W circuit diagram


5W bridge amplifier



High outputs
: LA4192 provides 5W bridge amplifier at VCC=9V,  (for RL=8Ω). 

 

LA4192 bridge amplifier 5W circuit diagram


Operating Characteristics at 


Ta = 25˚C, 
VCC=9V, 
f=1kHz,  
RL=8Ω, 

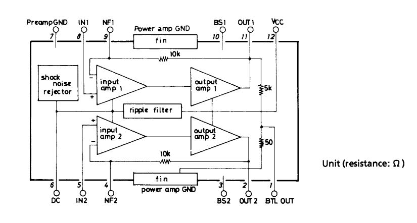
Equivalent Circuit Block Diagram

LA4192 bridge amplifier 5W circuit diagram

Leave a Comment